centura1
centura1
centura2
centura2
centura3
centura3
centura4
centura4
centura5
centura5
centura6
centura6
centura7
centura7
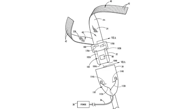
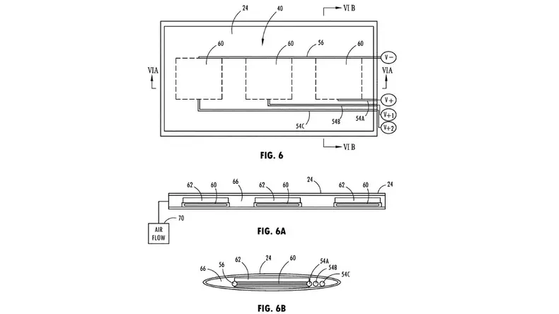
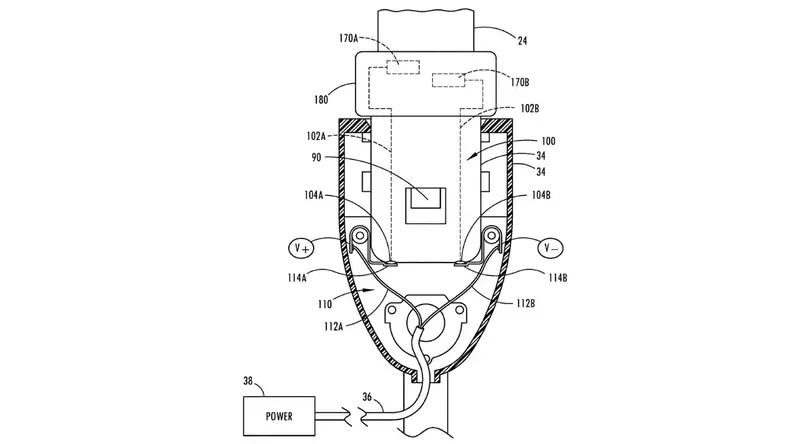
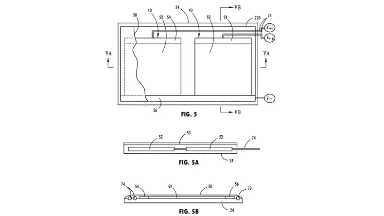
Nici Mercedes-Benz nu s-a gândit la asta! Ford patentează centurile încălzite
centura3
Închide Created with Sketch.
share
pagina anterioara 3 / 8 pagina urmatoare
Știri mai multe articole
Ergonomie și modularitate de top, dar pe care Citroën ELO Concept le propune sub un design pe care l-am numi „tehno-rebel”
Concept original

Ergonomie și modularitate de top, dar pe care Citroën ELO Concept le propune sub un design pe care l-am numi „tehno-rebel”

citeste articolul
Cecilia Tudor, Director General Renault Europa de Sud-Est, distinsă cu Premiul pentru Industrie și Inovație la Gala franco-română „Women in Economy” de la Paris

Cecilia Tudor, Director General Renault Europa de Sud-Est, distinsă cu Premiul pentru Industrie și Inovație la Gala franco-română „Women in Economy” de la Paris

citeste articolul
Ford își va extinde oferta EV în Europa printr-un parteneriat strategic cu Renault. Obiect vizat: platforma AmpR Small
Electromobilitate

Ford își va extinde oferta EV în Europa printr-un parteneriat strategic cu Renault. Obiect vizat: platforma AmpR Small

citeste articolul